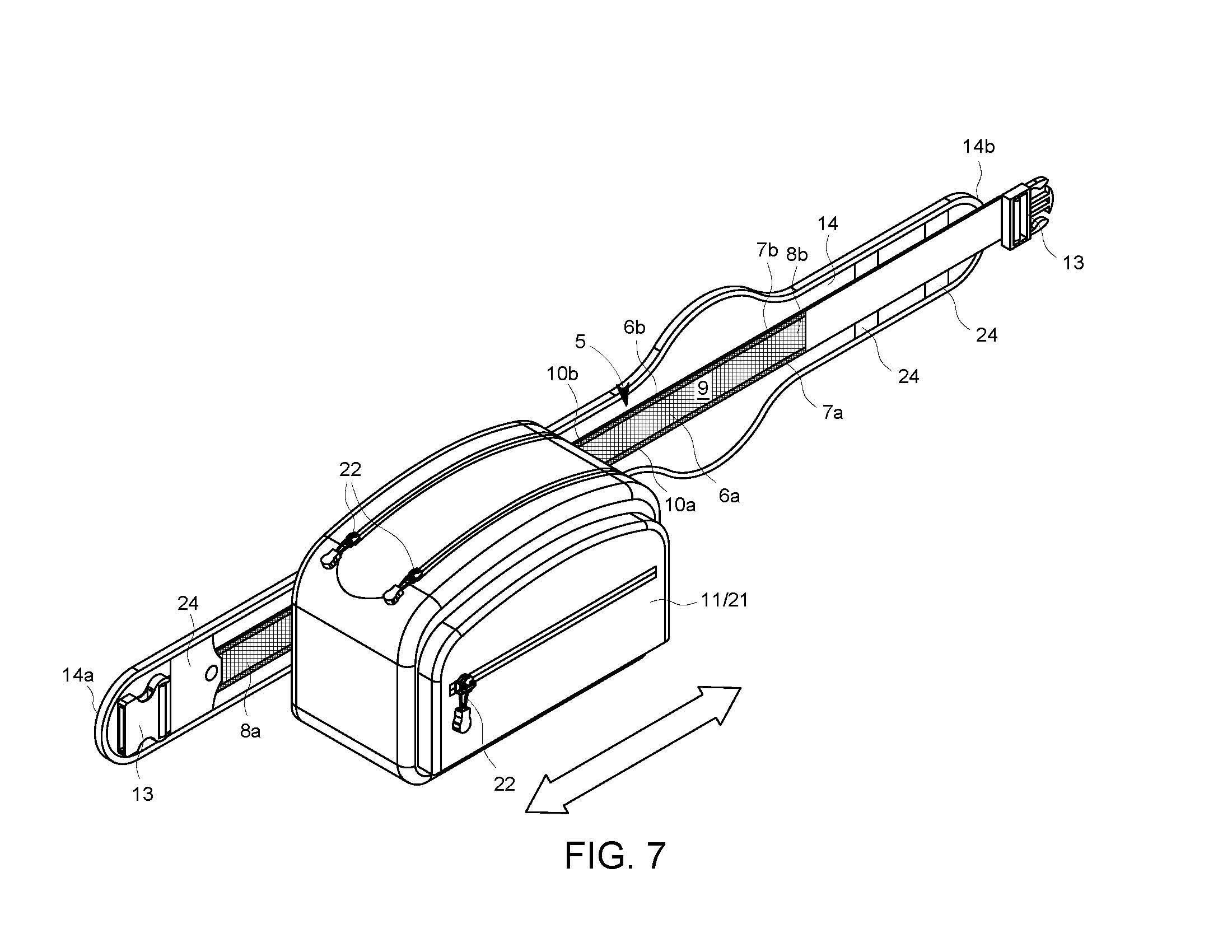
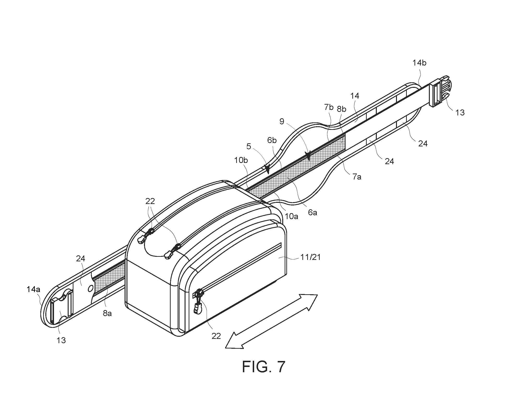
Elite-Trac

A SIMPLE SOLUTION TO GEAR ACCESS

Slide - Position - Attach

Next generation modularity enables numerous functions within the same technology. Check out all the ways it can be used in just one product.

interFlo Lumbar System

4 ways to use Elite-Trac

Q&A

What new packs are in the works?

Currently we have a 3.5L, 7L, & 11L water resistant line up and a 7L & 11L submersible line up.

Is the current belt going to be compatibly with future packs?

Yes

What happens if I break a slotted loop on the pack backer board?

Normal use should never result in breakage, they are built to last out of specially engineered POM polymer. If you do break one send us a email and we can get you a new one.

What kind of attachment systems do you have planned?

We have other belt systems that we plan to have prototypes for by early 2026.

In addition to this we are also developing a quick attachment system for a raft frame.

What warranty do I get with my purchase?

We have a limited lifetime workmanship guarantee. Contact us if you have any issues.

Are any other products planned?

We do have a submersible backpack we are working on that should be available in 2026.